Skip to main content Skip to main navigation Skip to search
Home

Top navigation main

  • News & media
  • Jobs
  • Ministers
  • Contact us
Main menu

AWE Main

  • Agriculture and land
    Agriculture and land Building stronger and more sustainable agriculture, fisheries, forestry and land care.
    • Animal health
    • Climate change and agriculture
    • Drought, disaster and rural support
    • Farming, food and rural support
    • Fisheries
    • Forestry
    • Levies and charges on agricultural products
    • Mouse infestation advice
    • Plant health
    Xylella

    Protect against unwanted plant pests

    Our biosecurity system helps protects us. Everyone has a role in supporting our biosecurity system.

    Find out more

  • Biosecurity and trade
    Biosecurity and trade
    • Aircraft, vessels and military
    • Biosecurity policy
    • Cats and dogs
    • Exporting
    • Importing
    • Pests, diseases and weeds
    • Public awareness and education
    • Trade and market access
    • Travelling or sending goods to Australia
    • Report a concern
    Brown marmorated stink bug

    BMSB Seasonal Measures

    Australia has strengthened seasonal measures to manage the risk of BMSB.

    View our seasonal measures

  • Science and research
    Science and research Undertaking research and collecting data to support informed decisions and policies.
    • Australian Bureau of Agricultural and Resource Economics and Sciences (ABARES)
    • Plant Innovation Centre
    Abares

    ABARES Insights

    Get 'snapshots’ of agricultural, forestry and fisheries industries, or analysis of key issues.

    Find out more

  • About us
    About us We enhance our agricultural industries and trade, and manage the threat of biosecurity risks to Australia.
    • Accountability and reporting
    • Assistance, grants and tenders
    • Contact us
    • Fees and charges
    • News and media
    • Our commitment to you
    • Payments
    • People and jobs
    • Publications
    • What we do
    • Who we are
    Budget 2025-26

    Budget 2025-26

    The 2025–26 Portfolio Budget Statements were released on 25 March 2025.

    Find out more

  • Online services
    Online services We do business with you using online platforms. This makes it easier for you to meet your legal requirements.
Department of Agriculture

Breadcrumb

  1. Home
  2. Agriculture and land
  3. Forestry
  4. Australia's forest policies
  5. Regional Forest Agreements
  6. About RFAs
  7. The RFA Process
  8. Environmental and Heritage Assessments

Sidebar first - Forestry

  • About RFAs
    • The RFA Process
    • Ecologically Sustainable Forest Management
    • Indigenous heritage
    • People jobs and communities - Social assessments
    • Protecting our Forest Environment
    • RFAs: Outcomes
    • RFA History
    • RFAs: How?
    • RFAs: Why?
    • Where are the regions

Environmental and Heritage Assessments

​​2.1 Introduction

2.2 Objectives

2.3 Environment and Heritage assessment report

2.4 Commonwealth responsibilities

  • 2.4.1 Obligations and assessments
  • 2.4.2 Impact assessment
  • 2.4.3 National Forest Policy Statement strategy to protect old-growth and wilderness values

2.5 Managing environmental and heritage assessments

2.6 Data requirements

2.7 Data management

2.1 Introduction

The National Forest Policy Statement describes the comprehensive regional assessment process. While the Statement focuses on environmental and heritage forest values, it is recognised that a wider range of assessments, including economic and social assessments, will contribute to a balanced and genuinely 'comprehensive' regional assessment process.

This section identifies Commonwealth environmental and heritage obligations and outlines the assessments that will be necessary to honour those obligations. The National Forest Policy Statement gives examples of Commonwealth obligations: National Estate values, World Heritage values, Aboriginal and Torres Strait Islander heritage values, environmental impacts, and obligations relating to international conventions, including those for protecting endangered species and biological diversity. Attachment 1 provides greater detail on Commonwealth environmental and heritage obligations and assessments.

Not all the Commonwealth obligations discussed in this section will be relevant in every region, and many of the assessments required are closely related and will be based on common data sets and analyses. A broad-based assessment process that reflects Commonwealth obligations is consistent with the Intergovernmental Agreement on the Environment, which requires the Commonwealth to declare the full range of its interests in any resource development proposal and to consider the cumulative regional impacts of proposals.

2.2 Objectives

Environmental and heritage assessments will enable governments to strategically plan for the protection and management of the environmental and heritage values covered by Commonwealth legislation and national and international agreements. Assessments will identify values, obligations and measures required to meet those obligations. In many cases, the assessments will involve judgements about conservation status and value and the implications for management. In the determination of National Estate values, for instance, a 'threshold' approach is used to allow mapping of areas that meet a defined standard.

In other cases, such as the protection of endangered species, management requirements will be based on the scientifically-determined survival needs of particular species and communities. The Commonwealth will base its assessments on criteria contained in legislation, international conventions and policies. As noted in Section 1, wherever possible the Commonwealth will use existing information and accredit existing information collection processes to meet its obligations under a regional forest agreement. The Environmental Resources Information Network, in association with other relevant Commonwealth agencies, will need to assess the ability of existing information and processes to meet Commonwealth requirements.

2.3 Environment and Heritage assessment report

In order to contribute directly to the agreement, it is expected that the environmental and heritage assessment would result in a single report covering four principal matters:

  • identification and assessment of environmental and heritage values
  • delineation of government obligations to protect those values
  • assessment of the adequacy of existing management arrangements, with proposals for changes required to meet the obligations of governments
  • assessment of the predicted impacts of proposed management arrangements.

Management recommendations in the report may include options for reserve configurations, management plans developed to cover specific zones, special practices in commercially used forest areas, continuing monitoring programs, and intergovernmental consultation and data access arrangements.

2.4 Commonwealth responsibilities

2.4.1 Obligations and assessments

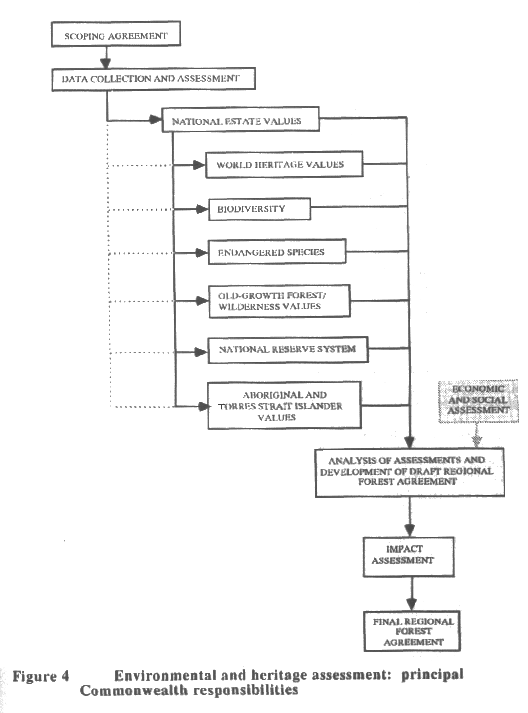
The following are the Commonwealth's environmental and heritage responsibilities that may apply in a region:

  • identification of all places of National Estate significance, to determine appropriate listings and develop and provide advice on strategies for the places' protection-under the Australian Heritage Commission Act 1975
  • identification of endangered species and their habitats, for the purpose of analysis of threats and potential for recovery and developing protective measures to ensure future viability-under the Endangered Species Protection Act 1992
  • identification of old-growth and wilderness values, for the purpose of developing adequate, comprehensive and representative reserve systems protecting those values-under the National Forest Policy Statement (1992)
  • assessment of the adequacy of the current reserve system for the conservation values of forested areas and identification of requirements for adequate protection of these values in a comprehensive and representative system of dedicated and secure reserves-under the Prime Minister's 1992 Environment Statement and the National Reserve System initiative
  • identification of areas that meet criteria for World Heritage listing, for the purpose of determining appropriate nominations-under the World Heritage Convention and the World Heritage Properties Conservation Act 1983
  • conservation and ecologically sustainable use of Australia's biological diversity-under the Convention on Biological Diversity (1993);
  • identification of areas and species of significance under other international agreements and the development of strategies to meet Commonwealth obligations
  • protection of Aboriginal and Torres Strait Islander heritage-consistent with the Aboriginal and Torres Strait Islander Heritage Protection Act 1984
  • environmental impact assessment requirements of the Environment Protection (Impact of Proposals) Act 1974
  • environmental protection requirements under the Export Legislative Framework.

Figure 4 illustrates these responsibilities.

2.4.2 Impact assessment

The Environment Protection (Impact of Proposals) Act 1974 requires the Commonwealth, in making decisions or taking actions, to fully examine and take account of matters affecting the environment to a significant extent. Impact assessment processes are detailed in Attachment 1 (refer also 1.4.3).

2.4.3 National Forest Policy Statement strategy to protect old-growth and wilderness values

High conservation value old-growth forest and wilderness areas are to be protected under a dedicated strategy outlined in the National Forest Policy Statement; the strategy covers interim protection, value assessment, and protection through a comprehensive, adequate and representative reserve system. The regional forest agreement process is a logical way to advance the identification of high conservation value old-growth forest and wilderness areas and develop the reserve system.

2.5 Managing Environmental and Heritage Assessments

The scoping agreement would identify the range of environmental and heritage assessments and obligations relevant to the regional forest agreement process. It could also be expected to specify assessment responsibilities between governments. Assessments required by the Commonwealth would be conducted, or overseen, by specialist agencies in the Environment, Sport And Territories portfolio-for example, the Australian Nature Conservation Agency, the Australian Heritage Commission, and the Environment Protection Agency-and other agencies in consultation with the State government concerned and interest groups. Intergovernmental coordination would be achieved through the proposed regional assessment management committee.

2.6 Data Requirements

Several of the Commonwealth obligations underpinning the environmental and heritage assessments are closely related and will have common data requirements. This means that combined survey and assessment operations will often be feasible. In addition to the collection and management of cultural heritage data, the process will involve improvements to a number of important environmental databases and data sets. In most cases, this will be done simply by building on existing facilities, such as those being developed by the Environmental Resources Information Network, the National Forest Inventory, and State agencies.

Among the major environmental databases could be the following:

  • endangered and vulnerable plants and endangered and vulnerable vertebrates-for the enhancement and maintenance of a database based on those species listed under the Endangered Species Protection Act 1992
  • vegetation canopy species-for the enhancement and maintenance of a database of those species that are conspicuous in the top vegetation layer and provide a baseline for monitoring changes in land cover as a consequence of land use, climate change and other factors. These species can also be used to assist in assessing priorities for reserve system design, biodiversity conservation, land use suitability, and other projects concerned with patterns of species distribution
  • wetland species-resulting in a database of species confined to inland water bodies, to support the identification of areas and species of significance under the Ramsar Convention
  • remnant vegetation and vegetation disturbance-resulting in a database documenting the extent and distribution of remnant vegetation and patterns of disturbance, integrating data from existing mapping exercises being undertaken by State nature conservation agencies.

Among the major environmental data sets could be the following:

  • biological
    • point distributions of plant and animal species
    • wildlife breeding areas
    • biodiversity
    • point-based vegetation data
    • structural vegetation types
    • environmental classification and ecosystem types (including habitats)
    • type localities for flora and fauna
    • refugia
    • migratory animal sites and populations
    • species or communities that are disjunct, endemic, at the limits of their range, rare, endangered, vulnerable, indicator species, keystone species, wild relatives of cultivated species, or distinctively adapted;
  • physical
    • geological, geomorphological and soil features
    • landform types
    • active landform processes
    • catchment boundaries
    • landscape features
    • digital elevation model
    • wetlands;
  • human-related and other
    • disturbance history
    • fire history
    • land tenure
    • land management
    • wilderness values (using National Wilderness Inventory).

Table 1 summarises the general data requirements of each of the Commonwealth's component environmental and heritage assessments. It should be noted that the data needs for environmental impact assessment obligations will vary according to specific management proposals and will need to take cumulative, indirect and socio-economic impacts into account.

Table 1 Indicative data requirements of environmental and heritage assessments
DataTypeNEWHNRSESBDAVICOGWE
Primary Data 
Topographys+++ +    
Rainfalls+++++ +  
Temperatures ++++ +  
Riverss+++ +    
Wetlandss+++++ +  
Catchmentss+++ +    
Geomorphologys+++ +    
Geologys+++++    
Soilss+++++    
Landforms+++++    
Forest types+++++ ++ 
Vegetation structures+++++ ++ 
Plant speciess/p+++++ +  
Animal speciess/p+++++ +  
Endemism +++++    
Land tenures+++++++++
Roadings++++++ ++
Use allocations++++++ ++
Logging historys+  +++ ++
Aboriginal area/sites/p+++  +  +
Historic area/sites/p+++     +
Socio-economics/p    ++  +
Diebacks+  ++  ++
Introduced speciess/p+  ++  ++
Other disturbance (fire, grazing etc)s/p+++++++++
           
Derived Data          
Landscape diversitys+++      
Soil diversitys+++      
Vegetation typess+++  +  +
Vegetation assemblagess+++ +    
Vegetation diversitys+++ +    
Faunal diversitys+++ +    
Habitats+++++    
Old-growth valuess+++++  ++
Wildernesss+++  + ++
Disturbances+++++ ++ 
Conservation status  ++++  + 
Aesthetics+++      
Socio-economic valuess/p    ++  +
Land use suitabilitys  + +  ++
Wild relativess/p  ++++  +

Notes
+ data or information required for assessment
s spatial data (mapped actual or predicted distributions)
p point data (mapped occurrences)
NE National Estate
WH World Heritage
NRS National Reserve System initiative
ES endangered species
BD biodiversity
AV Aboriginal and Torres Strait Islander values
IC international conventions (other than biodiversity)
OGWold-growth forest and wilderness
EIA environmental impact assessment
 

2.7 Data management

To meet its National Estate obligations, the Australian Heritage Commission needs access to a large proportion of the primary and derived data required by other Commonwealth agencies. In the National Forest Policy Statement, governments agreed that State agencies, jointly with the Australian Heritage Commission and with community and industry consultation, will coordinate the collection of information necessary for assessment.

Wherever possible, the assessments will draw on existing data, data from accredited State processes and the data and analyses used by the Australian Heritage Commission in its assessment of National Estate values. Where appropriate, information from the environmental and heritage assessments could be disseminated to government agencies, industry, community groups and the public via the Environmental Resources Information Network.

The satisfaction of Commonwealth environmental and heritage obligations for the purposes of a regional forest agreement requires a base level of information about forest values and resources use impacts in a region. Beyond this level, the agreement process may identify information gaps which need not delay the completion of the agreement, but will need to be addressed as part of continuing forest management. The agreement may therefore provide for ongoing research, with links to the modification of management practices and the agreed time frame for review of the agreement.

General enquiries

Call 1800 900 090

Contact us online

Report a biosecurity concern

Thanks for your feedback.
Thanks! Your feedback has been submitted.

We aren't able to respond to your individual comments or questions.
To contact us directly phone us or submit an online inquiry

CAPTCHA
This question is for testing whether or not you are a human visitor and to prevent automated spam submissions.

Please verify that you are not a robot.

Skip
Page last updated: 01 May 2024

We acknowledge the continuous connection of First Nations Traditional Owners and Custodians to the lands, seas and waters of Australia. We recognise their care for and cultivation of Country. We pay respect to Elders past and present, and recognise their knowledge and contribution to the productivity, innovation and sustainability of Australia’s agriculture, fisheries and forestry industries.

Artwork: Protecting our Country, Growing our Future
© Amy Allerton, contemporary Aboriginal Artist of the Gumbaynggirr, Bundjalung and Gamilaroi nations.

Footer

  • Contact us
  • Accessibility
  • Disclaimer
  • Privacy
  • FOI

© Department of Agriculture, Fisheries and Forestry

Facebook X LinkedIn Instagram